Насос пневматический винтовой ТА-19УВ
Пневмоподъемник предназначен для вертикальной подачи цемента по трубопроводам при помощи сжатого воздуха и должен находится в крытом помещении защищённом от атмосферных осадков.
Температура окружающего воздуха должна быть в пределах от минус 40°С до плюс 40°С.

Насос пневматический винтовой ТА-19УВ
Технические характеристики |
|
|
Номинальная производительность, т/час
|
60
|
|
Номинальная высота подачи, м
|
35
|
|
Расход сжатого воздуха, м3/мин
|
8
|
|
Рабочее давление в смесительной камере, МПа (кгс/см2), не более
|
0,12(1,2)
|
|
Электродвигатель привода шнека:
|
|
|
Тип
|
Асинхронный, короткозамкнутый
|
|
Исполнение
|
М2081
|
|
мощность, кВт
|
22
|
|
скорость вращения, об/мин
|
1500
|
|
Диаметр шнека, мм
|
150
|
|
Габаритные размеры, мм
|
|
|
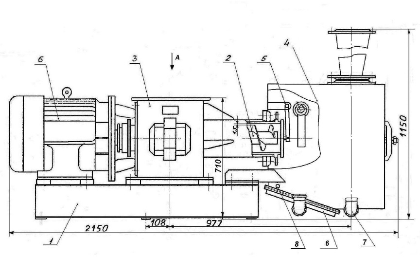
Длина
|
2150
|
|
Ширина
|
710
|
|
Высота
|
1150
|
|
Масса, кг
|
610
|
ПРИМЕЧАНИЕ. Производительность подъемников указана для цемента с насыпной массой 1,2-1,3 т/м3 при отклонении трубопровода от вертикали до 15°. Предельное отклонение от номинальной производительности – 10%.
Чертежи насоса пневматического винтового ТА-19УВ

Нажмите на чертеж для просмотра.

